Saturday, March 21, 2015

Interesting Hoosier inventions (a watchband and a lighter)




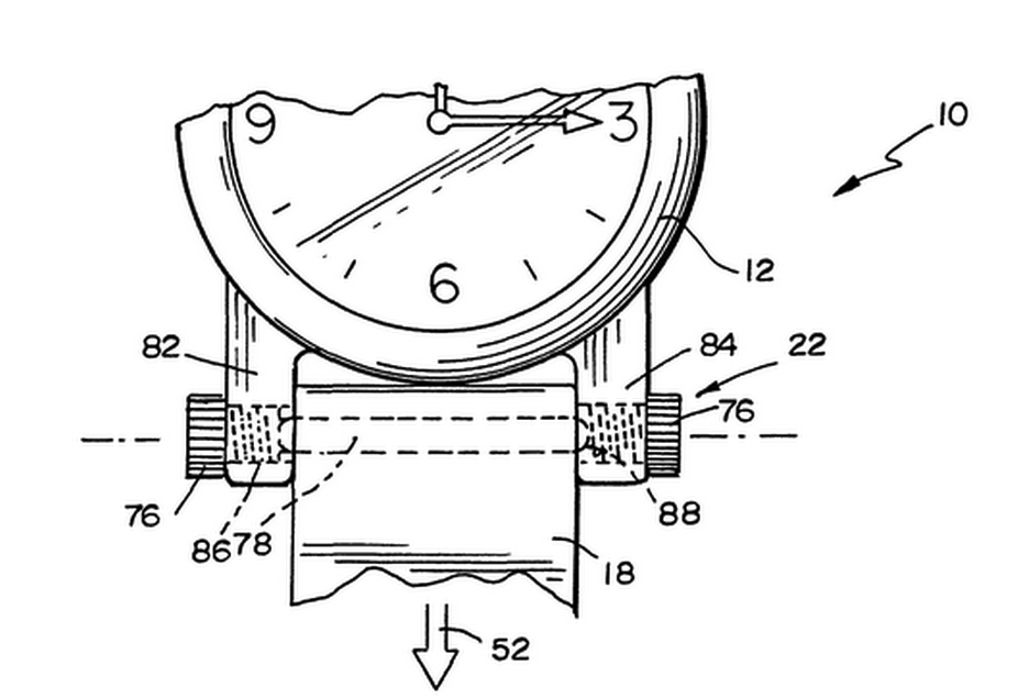
One interesting invention for which a patent issued to a hoosier was for a watchband with a quick release. Now, if your watch gets caught on something instead of losing your wrist the band automatically releases and saves the hand. 

Another is for a lighter that's part of a cell phone cover. The lighter has more uses than just for smokers looking for a light I'm sure.